Q347H型硬密封固定式球閥
Q347H硬密封固定式球閥在石油、天然氣、煤炭和礦石的開采、提煉 加工和管道輸送系統中;在化工產品、醫藥和食品生產;在水電、火電和核電的電力生產系 統中;在城市和工業企業的給排水、供熱、和供氣系統中;在農田的排灌系統中;在治金生產系統中得以廣泛的應用,是一種與生產建設、國防建設和人民生活息息 相關的重要機械產品。球閥密閉在各類管路系統種用于截斷或接通介質流,使介質按照預定的程序輸送到各個指定點。
產品介紹

產品概述
Q347H硬密封固定式球閥在石油、天然氣、煤炭和礦石的開采、提煉 加工和管道輸送系統中;在化工產品、醫藥和食品生產;在水電、火電和核電的電力生產系 統中;在城市和工業企業的給排水、供熱、和供氣系統中;在農田的排灌系統中;在治金生產系統中得以廣泛的應用,是一種與生產建設、國防建設和人民生活息息 相關的重要機械產品。球閥密閉在各類管路系統種用于截斷或接通介質流,使介質按照預定的程序輸送到各個指定點。
產品特點
1、采用圓柱形彈簧或波形彈簧預載的襝性可動金屬閥座結構,密封預緊力設計合理、閉啟靈活,有效保證密封的可靠性。
2 、采用特殊結構裝置的閥桿,不僅確保填寫料處還會滲漏,且防止了閥桿脫出。
3、根據用戶的需要,可設計成適應粉塵(包括含固體顆粒),漿料等介質的結構,使球閥耐磨及耐高溫性能更好。
4、本身具有防火防靜電功能。
5、該結構球閥應按規定流向使用。
主要用途
廣泛用于石油、天然氣、煤炭和礦石的開采、提煉加工和管道輸送系統中;化工產品、醫藥和食品生產中;水電、火電和核電的電力生產系統中;城市和工業企業的給排水、供熱和供氣系統中。
主要零件材料
Q347H硬密封固定式球閥主要零件材料 | |||||||
閥體 | 閥桿 | 閥球 | 密封面 | 墊片 | 填料 | 工作溫度 | 適用介質 |
WCB | 1Cr13 | 1Cr13 | 1Cr13 司太立合金 | 柔性石墨 | 柔性石墨 | -29-425℃ | 水、蒸汽、油品 |
WC6 | 15CrMo | 15CrMo | -29-425℃ | ||||
WC9 | 25Cr2MoV | 25Cr2MoV | |||||
LCB | 304 | 304 | -46-354℃ | ||||
CF8 | 304 | 304 | -196-600℃ | 部分酸、堿 | |||
CF3 | 304L | 304L | |||||
CF8M | 316 | 316 | |||||
CF3M | 316L | 316L | |||||
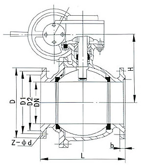
主要連接尺寸

Q347H-16C硬密封固定式球閥主要連接尺寸(mm) | |||||||||||||||||||
公稱通徑DN | 25 | 32 | 40 | 50 | 65 | 80 | 100 | 125 | 150 | 200 | 250 | 300 | 350 | 400 | 450 | 500 | 600 | 700 | |
d1 | 25 | 32 | 40 | 50 | 65 | 80 | 100 | 125 | 150 | 200 | 250 | 300 | 337 | 387 | 438 | 489 | 591 | 686 | |
L | 165 | 180 | 190 | 216 | 241 | 283 | 305 | 356 | 394 | 457 | 533 | 610 | 686 | 762 | 864 | 914 | 1067 | 1245 | |
H | 50 | 55 | 80 | 102 | 114 | 127 | 152 | 184 | 219 | 273 | 360 | 395 | 430 | 470 | 550 | 580 | 700 | 800 | |
手動 | H1 | 75 | 85 | 95 | 107 | 125 | 152 | 178 | 300 | 330 | 398 | 495 | 580 | 625 | 670 | 698 | 840 | 1050 | 1100 |
E | - | - | - | - | - | - | - | - | - | 116 | 116 | 171 | 171 | 257 | 257 | 257 | 150 | 83 | |
F | - | - | - | - | - | - | - | - | - | 350 | 350 | 400 | 420 | 400 | 420 | 400 | 410 | 650 | |
W | 160 | 160 | 230 | 230 | 400 | 400 | 650 | 1050 | 1050 | 600 | 600 | 800 | 800 | 800 | 800 | 800 | 800 | 800 | |
Wt(Kg) | 4.5 | 5.7 | 7.0 | 12 | 16 | 22 | 35 | 58 | 74 | 205 | 322 | 460 | 576 | 864 | 1280 | 1600 | 1600 | 4500 | |
電動 | H2 | - | - | - | - | - | - | - | - | 554 | 600 | 652 | 760 | 770 | 830 | - | 940 | 940 | 1115 |
L1 | - | - | - | - | - | - | - | - | 235 | 235 | 235 | 259 | 400 | 400 | - | 410 | 410 | 410 | |
氣動 | H3 | 215 | 240 | 264 | 274 | 379 | 389 | 479 | 552 | 666 | 736 | 926 | 1059 | 1127 | 1393 | 1468 | 1538 | 1538 | 1450 |
L2 | 200 | 270 | 270 | 270 | 405 | 405 | 576 | 576 | 776 | 776 | 776 | 1060 | 1060 | 1360 | 1360 | 1360 | 1360 | 2840 | |
聲明
本文中所有文字、數據、圖片均只適用于參考,Q347H硬密封固定式球閥性能參數、結構尺寸參數、價格等詳情,請聯系我們上歐公司銷售部
|
||||||||||||||||||||||||
![]() |
||||||||||||||||||||||||
| ||||||||||||||||||||||||










